谘詢服務熱線

所屬分類:輸送帶
專利名稱:可開合式大傾角輸送帶
專利號:ZL202121333723.5

專利介紹:
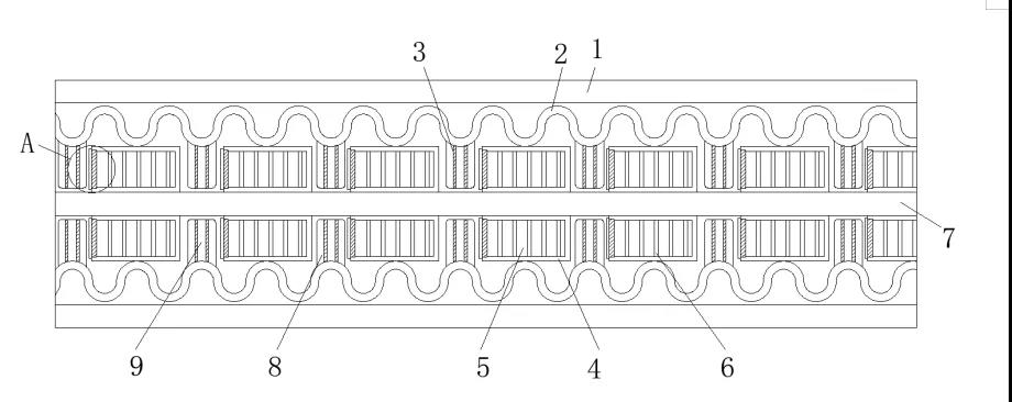
本專利屬於久久久久久久精品免费久精品蜜桃技術領域,可開合式大傾角輸送帶,包括基帶,所述基帶的頂部兩側均安裝有擋邊,所述基帶的頂部相鄰擋邊的一側設置有橫隔板,所述基帶的頂部相鄰橫隔板的一側設置有彈性膠,所述橫隔板的頂部設置有連接槽,所述連接槽的頂部安裝有凸塊,所述基帶的內部開設有限位槽,所述限位槽的一側內部安裝有轉軸,所述轉軸的表麵安裝有頂板,本實用新型設置了橫隔板與彈性膠,橫隔板在基帶上分開安裝,同時在安裝輸送帶的時候,通過基帶中的彈性膠保證基帶兩側的橫隔板能夠被有效的開合,這樣能夠方便輸送帶沿著彈性膠進行開合,從而降低輸送帶的整體大小,使得輸送帶能夠有效的安裝進設備中。
設置了橫隔板與彈性膠,橫隔板在基帶上分開安裝,同時在安裝輸送帶的時候,通過基帶中的彈性膠保證基帶兩側的橫隔板能夠被有效的開合,這樣能夠方便輸送帶沿著彈性膠進行開合,從而降低輸送帶的整體大小,使得輸送帶能夠有效的安裝進設備中。
設置了限位槽與頂板,通過限位槽中的限位柱將頂板頂出,同時物料通過頂板頂部的斜塊方便將物料卸下,完成卸料後,頂板通過限位槽中的彈簧使得頂板複回原位,這樣能夠使得輸送帶在運輸的時候有效的將物料卸下,從而防止物料出現堆積。
普通產品的缺點
大傾角輸送帶在安裝的時候由於自身大小的原因,導致輸送帶不能順利的安裝進輸送設備中,並且現有的大傾角輸送帶在運輸的時候不能保證物料被有效的卸下,從而容易造成物料堆積,影響輸送效率。
實際應用
產品使用情況:
產品在陝西某大型化工廠使用效果良好,客戶評價我公司提供的產品使用壽命更長,穩定性更好,節約了成本,提高了生產效率。
應用範圍:
大傾角輸送帶能使各種散裝物料以0-90度做任意傾角連續輸送,具有輸送傾角大、使用範圍廣、無轉運點、維護費用低、輸送量大等特點,被廣泛用於港口、冶金、電力、化工等領域物料輸送。
掃一掃谘詢微信客服